Steam Controller Litigation Makes Another Appearance before Federal Circuit
By Andrew Velzen —
Introduction
On April 23, 2025, the Federal Circuit rendered an opinion in Valve Corp. v. Ironburg Inventions Ltd. surrounding U.S. Patent No. 9,289,688 (the '688 patent"). This marks the second time that the Federal Circuit has weighed in on this patent (the Federal Circuit has also issued an opinion in a related case between the same two litigants over U.S. Patent No. 8,641,525). A proper discussion of the opinion, and of valuable takeaways therefrom, requires a review of the somewhat convoluted procedural history surrounding the litigation.
Ironburg Inventions Ltd. ("Ironburg") is the intellectual property (IP) holding company for the renowned video gaming controller manufacturer SCUF Gaming. According to SCUF:
SCUF was founded in 2011 with one goal in mind: to create a better way to play so gamers can reach their fullest potential. Our approach took one simple idea that ended up creating a whole new category of pro-performance products, that quite literally changed the game.
(SCUF was acquired by Corsair in 2019, but still exists as a standalone brand widely recognized in the gaming industry). SCUF is well-known for developing third-party controllers for Xbox, PlayStation, etc. over the previous decade that include added paddles on the backside, giving the player additional inputs. For reference, an example of a SCUF PS4 controller is shown below (the paddles are the elements labeled with "SCUFIMPACT"):
Procedural History
The '688 patent (owned by Ironburg) issued on March 22, 2016 and is entitled "Games Controller." Claim 1 of the '688 patent recites the following:
1. A games controller comprising:
a case; and
a plurality of controls located on a front end and a top of the case;
the case being shaped to be held in both hands of a user such that the user's thumbs are positioned to operate controls located on the top of the case and the user's index fingers are positioned to operate controls located on the front end of the case; wherein
the games controller further comprises at least one first additional control located on a back of the case in a position operable by a middle, ring or little finger of the user, the first additional control comprising a first elongate member displaceable by the user to activate a control function, wherein the first elongate member comprises a first surface disposed proximate an outer surface of the case and the first elongate member comprises a second surface opposing the first surface, the second surface being configured and arranged to be non-parallel with a portion of the outer surface of the back of the case to which the first elongate member is mounted. [emphasis added]
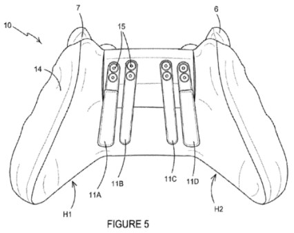
As an example, Figure 5 of the '688 patent illustrates claim 1 above:

The '688 patent clearly relates to some of the core innovations of SCUF controllers (namely, the paddles).
On December 3, 2015, Ironburg filed suit in the Northern District of Georgia against Valve (a gaming industry giant, most widely recognized for its digital storefront, Steam) alleging infringement of U.S. Patent Nos. 8,641,525 and 9,089,770 based on Valve's Steam Controller (discontinued in 2019):
Ironburg amended the complaint in the N.D. Georgia on May 16, 2016 to also allege infringement of the '688 patent. In response, on February 7, 2017, Valve filed a petition for an Inter Partes Review ("IPR") with the Patent Trial and Appeal Board (PTAB) at the U.S. Patent and Trademark Office (USPTO) seeking to invalidate claims of the '688 patent. The IPR was instituted over multiple claims of the '688 patent on grounds of unpatentability under 35 U.S.C. §§ 102(a)(1) and 103 over multiple references. The challenges to the claims of the '688 patent addressed in the IPR are summarized below:
In the final written decision of the IPR, the PTAB found that Uy anticipated many, but not all, of the claims of the '688 patent upon which IPR was instituted. In particular, the PTAB found that Uy failed to anticipate claims 3, 26, and 29. Further, the PTAB also concluded in the final written decision that Butler failed to anticipate claims of the '688 patent and that Burns could not be used as anticipatory prior art (since Valve allegedly failed to demonstrate that Burns adequately constituted a prior art printed publication). As a result, in addition to claims 3, 26, and 29, claims 18, 19, and 21 were thus adjudicated in the final written decision as unanticipated by and non-obvious over the art cited by Valve.
Thereafter, both Valve and Ironburg appealed to the Federal Circuit. In particular, Valve appealed the PTAB's decision regarding Burns not constituting a prior art printed publication (and that determination's bearing on the unpatentability of dependent claims 18, 19, 21, 26, and 29) and Ironburg appealed the PTAB's decision that claim 1 was anticipated by Uy.
In its first decision on appeal ("Valve I"), the Federal Circuit: (1) affirmed the PTAB's determination that claim 1 was anticipated by Uy and (2) vacated the PTAB's determination that Burns did not constitute prior art (note — the argument regarding Burns properly or not properly constituting prior art almost exclusively centered on evidentiary rules of authentication, and does not warrant discussion here). Based on these determinations, the case was then remanded to the PTAB to determine whether dependent claims 18, 19, 21, 26, and 29 were unpatentable (e.g., obvious) in light of the Burns reference.
On remand, the PTAB issued an additional final written decision as to claims 18, 19, 21, 26, and 29. In the additional final written decision, the PTAB determined that Valve failed to demonstrate that any of claims 18, 19, 21, 26, or 29 were anticipated or obvious (even when considering Burns). In doing so, the PTAB indicated that "because all the claims to be addressed on remand depend directly from claim 1, . . . claim 1 is the only independent claim at issue." The PTAB then found that claims 18, 19, 21, 26, and 29 were not demonstrated to be unpatentable by Valve based on the PTAB's determination that the combination of Burns and LaCelle did not render claim 1 unpatentable (and, therefore, could not render any of the dependent claims that depend on claim 1 obvious). This determination was based on a purported lack of motivation to combine Burns and LaCelle. Notably, the PTAB failed to address any of the specific claim features of claims 18, 19, 21, 26, and 29.
Based on the above, Valve again appealed to the Federal Circuit. Hence, at long last, we arrive at the present Federal Circuit decision ("Valve II"). In Valve II, the Federal Circuit addressed two major questions. First, the court reviewed whether the PTAB acted improperly by reviewing the patentability of claim 1. Second, the court also reviewed the PTAB's determination regarding a lack of motivation to combine Burns and LaCelle. While it took some windup to get here, I think both of these issues are interesting and merit discussion.
Regarding the PTAB's Review of the Patentability of Claim 1:
In the first final written decision, the PTAB had found claim 1 to be anticipated by Uy and also found that Burns did not constitute proper prior art that merited consideration. However, in remanding the case, the Federal Circuit explicitly instructed the PTAB that Burns was proper prior art that needed to be considered. Hence, the question on remand for the PTAB was: where do you start regarding claim 1 when analyzing dependent claims 18, 19, 21, 26, and 29?
A first option would be to start from square one, but include the Burns reference in the analysis. This would involve determining whether Burns, alone, anticipates claim 1 and, if Burns does not, whether LaCelle or Knight (provided by Valve in the original petition), in combination with Burns, render claim 1 obvious. After evaluating claim 1, the PTAB could then start from Burns alone or a combination of Burns with LaCelle or Knight (depending on which of the dependent claims in question is being analyzed), and determine whether (i) Burns or (ii) LaCelle or Knight reads on the additional features of the dependent claims in question (assuming there exists a sufficient motivation to combine LaCelle and Knight with Burns).
Option two would be to simply start directly from the Federal Circuit's conclusion; namely, that claim 1 is unpatentable (i.e., anticipated or obvious over at least some combination of the cited references). Thereafter, the PTAB would only need to identify whether any of the dependent claims in question included features that rendered them patentably distinct from claim 1.
The PTAB followed option one on remand. If you read the PTAB's remand decision, it is clear that the administrative patent judges were under the misapprehension that the Federal Circuit in Valve I merely "reversed [the PTAB's prior] determination that Burns was not prior art." As such, the PTAB reviewed the evidence and concluded that, even when Burns is properly included in the full "Winslow's tableau" of prior art, there are no references that can be combined with Burns to arrive at claim 1. Because of this, in the PTAB's view, none of dependent claims 18, 19, 21, 26, and 29 could possibly be anticipated or obvious even with the inclusion of Burns (since they depend from claim 1, which is itself unanticipated by and non-obvious over all combinations including Burns).
The Federal Circuit clearly thinks that this choice was incorrect. Here in Valve II, the Federal Circuit indicates that Valve I represented much more than just a decision about what the proper realm of prior art was. Instead, the court makes clear that the decision in Valve I "affirmed that claim 1 was unpatentable, and . . . required that the Board treat the patentability of claim 1 as no longer 'at issue'." In saying as much, the Federal Circuit referenced issue preclusion doctrine and invoked the mandate rule sua sponte (though, notably, the concurrence in Valve II questions the wisdom in doing so).
Per Valve II, and according to the mandate rule, the PTAB should have understood that unpatentability issues were: "locked in on remand" (citing Atlanta Gas Light Co. v. Bennett Regul. Guards, Inc., 33 F.4th 1348, 1355 (Fed. Cir. 2022)) and foreclosed from being reconsidered (citing Amado v. Microsoft Corp., 517 F.3d 1353, 1364 (Fed. Cir. 2008)). As such, it should have been an impossibility that dependent claims 18, 19, 21, 26, and 29 were unpatentable solely based on their dependence on claim 1, as claim 1 was already adjudicated unpatentable.
Given the above, the PTAB should have followed option two described above. In particular, the PTAB should simply have reviewed the added claim elements in the contested dependent claims and determined whether Burns, LaCelle, or Knight: (i) taught said additional element(s); and (ii) can be combined with one another.
Regarding the PTAB's Determination Regarding a Lack of Motivation to Combine Burns and LaCelle:
Probably the most important takeaway from Valve II, though, lies in the Federal Circuit's discussion of the PTAB's alleged lack of motivation to combine Burns and LaCelle.
As noted above, according to the Federal Circuit, the PTAB improperly disregarded the mandate rule. In doing so, the PTAB discussed the alleged lack of motivation to combine Burns and LaCelle. However, even if the mandate rule had been properly applied by the PTAB, full consideration of claims 18, 19, 21, 26, and 29 would have required an analysis of whether Burns and LaCelle are properly combinable. Thus, the Federal Circuit separately discussed the issue of combinability.
According to the Federal Circuit in Valve II, the PTAB's determination of a lack of motivation to combine was "not supported by substantial evidence." In its evaluation on remand, the PTAB determined that the technology involved was simple and that the level of ordinary skill in the art was "relatively low and did not require a college education."
In the IPR, Valve pointed to LaCelle for the structure of a curved back control, arguing that this would serve to motivate a person of ordinary skill in the art to combine LaCelle with Burns. In disregarding this argument, the Federal Circuit felt that the PTAB failed to address three main factual issues. First, the Federal Circuit indicated that the PTAB failed to address the contention that LaCelle discloses controls on the back of a controller similar to Burns. Second, the Federal Circuit felt that the PTAB did not acknowledge evidence of LaCelle's disclosure of features that are curved. And third, the PTAB failed to give proper weight to Valve's expert's testimony regarding the predictable nature of the combination of the Burns and LaCelle. Notably, the PTAB had refrained from considering some of the evidence related to the third factual issue on procedural grounds (as some of the evidence was submitted by Valve in a supplemental reply). The Federal Circuit indicated that the additional evidence did not offer new theories of unpatentability and was therefore proper / should have been considered.
At the end of the day, for the two primary reasons above, the Federal Circuit remanded the case back to the PTAB again for further consideration of claims 18, 19, 21, 26, and 29 in light of the Burns and LaCelle references.
Takeaways
There is obviously a lot going on here, both procedurally and substantively, both at the PTAB and at the Federal Circuit (not to mention the initial District Court proceedings and the litigation of related patents). If I had to summarize the important points from this additional decision (Valve II), though, I would boil them down to the following:
(1) Federal Circuit decisions regarding patentability in light of prior art are subject to the mandate rule and to the issue preclusion doctrine. By definition, decisions regarding patentability made at the Federal Circuit level cannot be relitigated at the PTAB thereafter. It goes a bit further than this statement, though. Put succinctly, the PTAB (and litigants before the PTAB) should not render any decisions (or present any arguments) regarding dependent claims that modify the patentability analysis of an independent claim previously adjudicated unpatentable by the Federal Circuit. In the present example, in Valve II, the Federal Circuit spent significant time discussing why the PTAB's analysis of claim 1 vis-a-vis Burns and LaCelle was inappropriate given the opinion rendered in Valve I.
(2) The hurdle when it comes to demonstrating a motivation to combine under 35 U.S.C. § 103 remains relatively minimal. This is particularly so when one or more of the following are true (and especially when all are true): (i) the level of ordinary skill in the art is low; (ii) the pieces of art are from the same field; and (iii) experts testify to the predictability of the results of combining the art. In the present case, both Burns and LaCelle relate to features on the backside of game controllers. It does not necessarily matter what the intended use of the features are, especially since the features can be readily understood by a person with little technical ability. This was further reinforced by the testimony of Valve's expert indicating that the results of combining the curvature in LaCelle with the back paddles of Burns would lead to a predictable result.
(3) A picture is worth a thousand words. Lastly, and this is my own viewpoint rather than anything explicitly stated in Valve II, sometimes it can be difficult to overcome viewpoints developed at first glance based on what seems to be relatively straightforward intuition. For example, even if the PTAB's analysis on remand had been proper and/or Valve's reasoning regarding motivation to combine were unpersuasive, there still remains the hurdle of viewing two (or more) pieces of prior art side-by-side and concluding that someone of ordinary skill in the art would not understand how to combine them.
This case is just another example of the age-old allure of hindsight bias. This bias is particularly pronounced when looking at two drawings that seem very visually similar (and thus appear, on their face, to be readily combinable). When reviewing the dependent claims in question, as well as the rest of this case, the Federal Circuit was confronted with the following two drawings from Burns and LaCelle. It would arguably require some fairly impressive mental gymnastics to convince yourself that a person of ordinary skill in the art could not combine the curvature of LaCelle (top) with the paddles of Burns (bottom):
Conclusion
Based on a cursory review of the dependent claims in question, a cursory review of the Burns and LaCelle references, and the extended discussion in Valve II, I would be surprised if the remaining dependent claims are not found unpatentable on remand. Regardless of how it ends, though, Ironburg's efforts in obtaining these patents were not in vain, even if all remaining claims of the '688 patent are invalidated on second remand to the PTAB.
Back in 2021, Ironburg's infringement suit based on U.S. Patent No. 8,641,525 went to trial in the Western District of Washington (transferred from the Northern District of Georgia). This resulted in a jury award of about $4M against Valve. This result, coupled with the licensing deal that Ironburg purportedly had with Microsoft for $6M, demonstrates the value of the patents in question.
Valve Corp. v. Ironburg Inventions Ltd. (Fed. Cir. 2025)
Nonprecedential disposition
Panel: Circuit Judges Lourie, Dyk, and Prost
Opinion by Circuit Judge Dyk; opinion concurring in the result by Circuit Judge Prost



Leave a comment