By Garrett “Jake” Lee and Andrew Velzen –

Introduction
On January 16, 2026, the Federal Circuit rendered an opinion in Gamevice, Inc. v. Nintendo Co. regarding the dispute surrounding U.S. Patent No. 9,808,713 (the ‘713 patent) and U.S. Patent No. 10,391,393 (the ‘393 patent) (both patents being owned by Gamevice, Inc. (“Gamevice”)). A third patent, U.S. Patent No. 9,855,498 (the ‘498 patent) (collectively, the “Asserted Patents”), was also asserted by Gamevice before the District Court. However, the ‘498 patent was previously invalidated during the course of litigation, and that invalidation was not on appeal. A proper discussion of the opinion, and of valuable takeaways therefrom, requires a review of the procedural history surrounding the litigation.
Gamevice, formerly known as Wikipad, Inc., is a tablet and smartphone accessory manufacturer known for its gaming-focused peripherals that afford the comfort of a familiar video game controller grip to mobile devices. The design of the peripherals allows for attachment to mobile devices, with adjustable width to fit devices with a variety of screen sizes. For reference, an example of the “GAMEVICE FLEX” (Gamevice’s most recent model) is shown below (the image at left is the peripheral in its closed state, the center image is one paddle of the peripheral in an open state, and the image at right is one paddle of the peripheral connected to an example mobile device):[1]

Procedural History
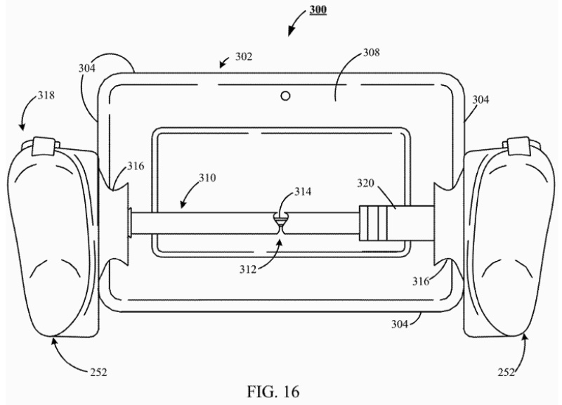
The ‘713 and ‘393 patents are part of a branching patent family and share the same title, “Game Controller with Structural Bridge.” The ‘713 patent issued on November 7, 2017, and the ‘393 patent issued on August 27, 2019. Both patents share substantially the same disclosure, including figures depicting an earlier model of the Gamevice peripherals. For example, Figure 16 of the ‘393 patent is shown below:

The independent claims of both patents are both drawn toward the device and its confinement structures (the part of the peripheral that secures the mobile device), the bridge connecting said confinement structures, and the input units (the game controllers). The claims specify that the confinement structures, the bridge, and the input units are all separable components that do not make up a “structural portion” of any of the other components. Thus, for example, the input units do not make up a “structural portion” of the confinement structures to which the input units are secured. Independent claim 1 of the ‘713 patent and independent claim 1 of the ‘393 patent are reproduced below, for reference:


On March 29, 2018, plaintiff Gamevice filed suit in the Northern District of California against Nintendo and Nintendo of America (“Nintendo”) (a video game industry cornerstone, known for its storied history and wildly popular Intellectual Properties (IP) including Mario, Zelda, and Pokémon). The complaint alleged the infringement of the ‘713 and ‘498 patents, based on Nintendo’s then most recent video game console, the Nintendo Switch:

Simultaneous with the District Court filing, Gamevice also filed a complaint with the U.S. International Trade Commission (“ITC”) under 19 U.S.C. § 1337, which asserted similar patent infringement claims by Nintendo.
In Nintendo’s response to the District Court complaint, Nintendo motioned for a stay in proceedings pending the resolution of the ITC proceedings (which is mandatory under 28 U.S.C. § 1659 for claims involved in proceedings before the ITC under § 1337). All issues before the ITC (and appealed to the Federal Circuit based on the ITC results) were resolved by November 18, 2021, ultimately ending in a finding for Nintendo of non-infringement of all patents.
On March 1, 2022, following the resolution of the ITC case, Gamevice filed a motion to amend the complaint in District Court to incorporate claims of infringement of the ‘393 patent. The ‘393 patent was also litigated at the ITC to similar results, but the ITC proceeding did not begin until after the stay in proceedings for the District Court litigation had been granted, and thus the ‘393 patent could not have been added to the complaint prior to March 1, 2022.
As the District Court case resumed, Nintendo sought Rule 11 sanctions against Gamevice for “frivolous[ly]” trying to relitigate matters settled in the ITC.[2] Sanctions were not granted, though, as ITC decisions are not preclusive, and can be pursued in the district court, so long as Gamevice had a reasonable belief that the outcome might be different.
The Back-and-Forth Outcomes during District Court Litigation
The District Court litigation can be broken into three outcomes spread over the course of 2023. First, a motion for summary judgment filed by Nintendo was granted in part and denied in part on March 14, 2023. Second, Gamevice filed, and succeeded on, a motion for reconsideration on June 14, 2023. Third, a final motion for summary judgment, in favor of Nintendo, was granted on October 31, 2023. This final motion became the subject of appeal to the Federal Circuit, as discussed in detail below.
The First Summary Judgment Motion
The first summary judgment motion in District Court concluded that all claims of the Asserted Patents, except for claim 16 of the ‘713 patent, were invalid as anticipated by the Nintendo switch. The motion turned on whether or not the Nintendo Switch, first sold in the United States on March 3, 2017, actually constituted prior art to the ‘713, ‘393, and ‘498 patents. Gamevice argued that, while the patents were filed after the date of first sale of the Nintendo Switch, they were entitled to priority based on U.S. Patent No. 9,126,119 (the ‘119 patent), which was filed on February 2, 2015, and “provided written description support for the asserted claims.” Because the patent family of which the ‘713, ‘393, and ‘498 patents are a part contained multiple continuations-in-part, including continuations-in-part of the ‘119 patent, this issue was up for debate.
Whether the later patents were entitled to priority turned on rules of interpretation about whether or not a species disclosed in an earlier patent can support later claims (e.g., in a continuation application) of a genus. According to the District Court, this depends on “what the disclosure reasonably conveys to a person skilled in the art.” See Bilstad v. Wakalopulos, 386 F.3d 1116, 1124-25 (Fed. Cir. 2004). In a case applying this standard, Tronzo v. Biomet, the Federal Circuit found that because the specification disclosed only a specific range of shapes for the device claimed, it did not support later claims to a more general range of shapes.[3]
In this case, the term at issue was “computing device,” which was construed in a prior Markman order to mean “electronic equipment controlled by a CPU.” The ‘119 patent only provided support, in its claims and figures, for computing devices that had both a back and an attached screen (e.g., tablets, smart phones, etc.). Thus, according to the District Court, the broader aspects of the claims in the Asserted Patents were not entitled to the priority date of the ‘119 patent. While some dependent claims of the Asserted Patents did include the narrowed features relating to the species described in the ‘119 patent, the District Court nevertheless found that none of the claims were entitled to the ‘119 patent’s priority date (the only exception being independent claim 16 of the ‘713 patent, which mirrored independent claim 1, except that it excludes the reference to a computing device).
The Motion for Reconsideration
The grant of a motion for reconsideration is a rare event because, as noted by the District Court, it is “an extraordinary remedy, to be used sparingly in the interests of finality and conservation of judicial resources.” However, the astute reader may have noticed in the previous section that the District Court committed clear error that necessitated reconsideration.
As mentioned in the prior section, several dependent claims in the ‘713 and the ‘393 patents recite further limitations that narrow the term “computing device” in the independent claims to cover only computing devices with a back and a screen, which is what the District Court deemed to be supported by the ‘119 specification that predates the first sales of the Nintendo Switch. The District Court, though, held (improperly) that these claims were not entitled to the ‘119 priority date. However, as pointed out by Gamevice in its motion for reconsideration, this is an incorrect application of federal law. The Federal Circuit has long held that, “a finding of invalidity of an independent claim does not determine the validity of claims that depend from it.” Scanner Techs. Corp. v. ICOS Vision Sys. Corp. N.V., 528 F.3d 1365, 1383 (Fed. Cir. 2008).
The District Court conceded that it did not apply the correct standard and, upon reconsideration, found that claims 3, 4, 6, and 7 of the ‘713 patent and claim 6 of the ‘393 patent were entitled to the ‘119 priority date. Nintendo did attempt to challenge the interpretation of claims here, and how they should be understood in view of the term “computing device,” but the District Court found such arguments “unpersuasive and insincere.”[4]
The Second Motion for Summary Judgment
The Second Motion for Summary Judgment featured an interesting procedural question about how a court should treat a prior determination that an asserted claim is anticipated by the allegedly infringing product followed by a later determination that the asserted claim actually predates the allegedly infringing product. Should that prior determination be binding (i.e., should the original determination of anticipation be outcome determinative of infringement)?
On the original motion for summary judgment, the District Court held that the Asserted Patents were all anticipated by the Nintendo Switch. As a result, Gamevice argued, given that several of the claims that were initially deemed anticipated now had been determined to pre-date the Switch, that the Court must, either as a matter of Judicial Estoppel or the law of the case doctrine, hold that those claims are infringed by the Nintendo Switch. The argument by Gamevice hinged, in part, on the fact that Nintendo’s prior motion of summary judgment “pled infringement for the purposes of its summary judgment motion of invalidity.” The Court found the arguments presented by Gamevice unpersuasive. One reason for this is that the Court found that the cases relied upon by Gamevice did not clearly support Gamevice’s contentions. For example, in the District Court’s view, many of the cases provided by Gamevice involved courts treating the pleas during summary judgment stages as a sort of limited stipulation to expedite the courts analysis in order to focus on an invalidity defense (rather than a strict admission). The second reason is that the District Court, in effect, found that if Nintendo were bound by “conceding infringement” when pleading in the alternative (invalidity), it would make such pleadings overly burdensome on defendants (and, in our view, would chill the use of such expeditious pleadings going forward).
The rest of the District Court’s opinion on the second motion for summary judgment focused on whether there was a “genuine issue of material fact” as to whether the Switch infringed any of the remaining claims that were salvaged in the motion for reconsideration. This determination depended upon Gamevice’s ability to prove that the Nintendo Switch featured each limitation of the claims, namely the references to a “passageway,” “confinement structures,” and the “apertures” that “secure.” The District Court determined that, contrary to Gamevice’s contentions, there was no way to show that the Nintendo Switch control modules feature “confinement structures” or “apertures” that perform a “secur[ing]” function. On this basis, the District Court found that there was no genuine issue of material fact. Thus, since Gamevice could not show infringement without both of these limitations being proven to exist in the Nintendo Switch, Nintendo’s motion for summary judgement was granted and Nintendo prevailed at the District Court.
The Appeal
Gamevice appealed the decision by the District Court to the Federal Circuit, and the decision on the resulting appeal was reached on January 16, 2026. The decision primarily focused on whether or not the District Court erred in how it interpreted, and applied said interpretations, of “confinement structures” and “apertures” that “secure.” The appeal opinion focuses primarily on the latter interpretation, only mentioning the “confinement structures” in passing.
Gamevice’s arguments turned on what is required of an “aperture” that “secures” a button or a joystick in a control unit, and whether or not the “additional parts” of a Nintendo Switch controller (shown below) include such requirements.

Gamevice primarily argued to the Federal Circuit that: (1) the District Court’s determination that apertures (the “holes”) cannot, themselves, secure anything is in direct contradiction with Gamevice’s specification, and (2) the District Court improperly construed the term “secure” by not allowing for the use of additional components (such as flanges on buttons) to assist the “aperture” in the securing (e.g., as long as the hole was not so large that a button with a wider flange would slip out, then the button was being “secured” by the “aperture,” according to Gamevice).
The Federal Circuit did not agree with Gamevice’s contentions. First, the Federal Circuit determined that the District Court’s opinion, when read properly, identified that the Nintendo Switch’s alleged “apertures” did not secure anything (as the parties agreed that the buttons are held in by the flange at the bottom). Second, and crucially, the Federal Circuit also determined that Gamevice failed to previously request an interpretation of “secure” that allowed for something other than the hole itself[5] to be considered part of the “aperture” that “secures” and/or to identify any support in the specification that would allow for such an interpretation. Further issues are pointed out, such as Gamevice’s expert admitting that the Switch holes “merely ‘allow the buttons and joysticks to pass through and move within.’” Lastly, the Federal Circuit also pointed out that the Joysticks are secured to the housing by screws, which is yet further beyond the “aperture” doing the “secur[ing].” In our opinion, even if the Federal Circuit’s construction of an “aperture” that “secures” was broadened (in-line with Gamevice’s argument), the screws securing the Joysticks may have, by themselves, been enough for the Federal Circuit to reach the same conclusion (at least with respect to the Switch Joysticks).
Given the above analysis, the Federal Circuit affirmed the decision of the District Court. During oral argument, Nintendo was asked whether the appeal should focus solely on the “noninfringement issue,” as the alternative “invalidity” holding of the District Court was potentially inconsistent with the District Court’s noninfringement holding. Nintendo agreed (presumably in order to speed up the appeals process).
Takeaways
Some key takeaways for those regularly involved in patent practice:
(1) ITC decisions do not create estoppel so long as the losing party genuinely believes there may be a different result. The ITC does not have the same estoppel considerations as the PTAB, and, while the proceedings may move quickly, they may not necessarily help a victorious party in a District Court or PTAB proceeding.
(2) A prior finding of invalidity by anticipation does not support a finding of infringement, if the invalidity by anticipation was the result of a summary judgment pleading that conceded infringement. Parties who want to avoid diluting an argument or motion by having to argue non-infringement and then, in the alternative, invalidity may be able to focus on the invalidity issue and, for sake of argument, admit infringement without potentially risking being estopped from raising the non-infringement issue again later. The relevant cases include Evans Cooling Systems, Inc. v. General Motors Corp.,125 F.3d 1448 (Fed. Cir. 1997), and Gammino v. Southwestern Bell Tel., L.P., 512 F. Supp. 2d 626 (N.D. Tex. 2007).
(3) The specification and drawings are crucial for claim construction. A lot of what limited Gamevice both in the district court and on appeal came down to what was supported by the specification. It is not as though Gamevice tried to read a term like “computing system” to mean a system that did not exist at the time that Gamevice filed its application. In fact, the argument for what is covered by the term “computing system” was not, per se, incorrect. However, the examples provided in the specification, both in words and in images, painted a very particular picture of what was covered, which ultimately limited the number of claims and, thereby, the avenues of attack that could be brought against Nintendo. Between the limitations on an “aperture” that “secures” and on “computing device,” Gamevice couldn’t find a path forward.
This case illustrates the importance of having a wide variety of embodiments being covered by the specification.
Conclusion
A cursory review of the claims, specification, and figures in the Gamevice patents does paint a picture of what appears to be a reasonable shot at a showing of infringement. However, this litigation goes to show, no matter how strong a case looks on its face, it will ultimately be won on many little details.
Gamevice, Inc., v. Nintendo Co. (Fed. Cir. 2026)
Nonprecedential disposition
Panel: Chief Judge Moore, Circuit Judge Chen, and District Judge Andrews
Opinion by Circuit Judge Chen
[1] https://gamevice.com/products/flex-for-android
[2] Gamevice, Inc. v. Nintendo Co., Order Denying Motions for Rule 11 Sanctions, 18-cv-01942-RS.
[3] In Tronzo, the case related to the cup shape for a Hip socket. In the earlier patent, the specification and language focused on “conical cups” while the later claimed only referred to “cups.” The Federal Circuit held that the genus was limited to conical cups.
[4] Gamevice, Inc. v. Nintendo, Co., 677 F.3d 1069, 1075 (N. D. Cal. 2023).
[5] Gamevice was pushing for the idea that the parts of the “housing unit” of the controller, that surround the hole, are part of the aperture that secures the button. The Federal Circuit did not agree, as the claim language and the specification was very specific about the hole, and only the hole, doing the securing.

Leave a comment