By Kevin E. Noonan

Federal Circuit SealThe doctrine of equivalents (DOE), a creation of the Supreme Court in Graver Tank & Mfg. v. Linde Air Products (1950), is balanced by the concept of prosecution history estoppel (PHE), the contours of which were delineated over an exhaustive (eight decisions over twelve years) back-and-forth between District Courts, the Federal Circuit, and the Supreme Court in Festo Corp. v. Shoketsu Kinzoku Kyogo Kabushiki. The resulting jurisprudence expanded the scope of PHE, wherein any claim amendment during patent prosecution presumptively raised the estoppel, which prevented any additional scope for the amended claim element.  The effect of this estoppel was felt by plaintiff in Colibri Heart Valve LLC v. Medtronic Corevalve, LLC with the result that a $106 million judgment was lost.

Colibris brought suit over its U.S. Patent No. 8,900,294, directed to methods for implanting an artificial heart valve to replace a defective valve, wherein its valve had the quality of permitting a "do-over" in cases where the valve is not initially properly positioned.  This feature, based on incomplete deployment permitted the valve to be "recaptured" and repositioned if initial positioning is not optimal.  Colibri alleged Medtronic was inducing surgeons to infringe the claimed method under 35 U.S.C. § 271(b).

The claims as filed recited two embodiments.  In the first, the valve was pushed out of an outer sheath from the delivery apparatus, while in the second the outer sheath was retracted to expose the valve; claims to the latter embodiment were cancelled after the Examiner rejected them for failure to satisfy the written description requirement of 35 U.S.C. § 112 (a).

The claims at issue were directed to the first embodiment; claim 1 is representative:

1.  A method of controlled release of a percutaneous replacement heart valve at a location of a native heart valve in a patient, the method comprising:
    obtaining a replacement heart valve device and a delivery and implantation system:
    the replacement heart valve device including:
        a stent member that is collapsible, expandable and configured for percutaneous delivery; and
        a valve residing entirely within an inner channel of the stent member and attached to a proximal portion of the stent member, the valve including two to four individual leaflets made of fixed pericardial tissue;
    the delivery and implantation system including:
        a pusher member and a moveable sheath, wherein the pusher member includes a guide wire lumen, and wherein the moveable sheath includes a lumen configured for receiving the pusher member;
    after the obtaining step, loading the replacement heart valve device into the lumen of the moveable sheath such that the replacement heart valve device is collapsed onto the pusher member to reside in a collapsed configuration on the pusher member and is restrained in the collapsed configuration by the moveable sheath;
    after the loading step, advancing the delivery and implantation system transluminally over a guide wire within the patient to position the replacement heart valve device for deployment within the patient at the location of the native heart valve;
    after the advancing step, partially deploying a distal portion of the replacement heart valve device within the patient by pushing out the pusher member from the moveable sheath to expose the distal portion of the replacement heart valve device;
    
after the partially deploying step, restraining the replacement heart valve device so that it does not pop out and is held for controlled release, with a potential that the replacement heart valve device can be recovered if there is a problem with positioning; and
    after the restraining step, recovering the distal portion of the replacement heart valve device within the moveable sheath that was exposed in order to address a problem with the position of the replacement heart valve device within the patient.

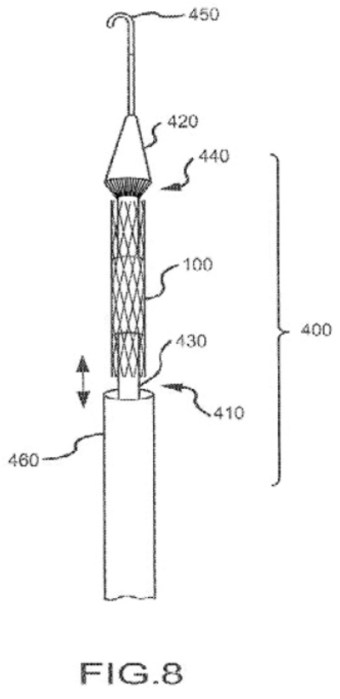
(wherein the language set forth in the opinion in boldface identifies the limitation at issue in this case).  A device used in practicing the claimed method is set forth in the opinion using this schematic drawing:

Image 1
The opinion recites how the replacement valve is positioned in the practice of the claimed methods:

A flexible, hollow catheter (400) carrying the stent (100)—to which the replacement heart valve (200), not shown, is sutured—is inserted into a blood vessel of the patient, e.g., the femoral artery, and advanced through the circulatory system to the location of the valve that is to be replaced.  The catheter (400) includes a pusher member (420), and, in some embodiments, a move-able sheath (460) that covers the stent (100) and valve (shown pulled down for display purposes).

Once the catheter is in what seems the desired position, the pusher member (420) pushes the stent (100) and valve (200) towards the distal end of the catheter (410) such that the stent (100) only partially expands.  At that stage, if the positioning seems incorrect, the valve can be "recaptured" (i.e., recovered and returned to its original position within the catheter, with the stent resqueezed) and redeployed once the catheter's overall location is adjusted.  If no recapture is necessary, the catheter (400) is retracted slightly, and the pusher member (420) fully pushes out the stent (100) and valve from the catheter (400).  In embodiments with a moveable sheath (460), the stent (100) and valve are released by pulling the moveable sheath towards the proximal end (440) of the catheter (400), "allowing the self-expending stent to achieve its full expansion."

(citations to the record omitted).

Medtronic argued at trial that their accused infringing device, having this structure:

Image 2
was operated by retracting the sheath (the second, abandoned embodiment) rather than pushing the valve out from the sheath (the embodiment to which the granted claims were directed.  In practice, a deployment knob outside the body "controls the position of the moveable sheath relative to the replacement heart valve and stent[, whereby] rotating the deployment knob in one direction retracts the moveable sheath and uncovers (i.e., partially or fully deploys) the replacement heart valve and stent, while rotating in the other direction re-covers (i.e., recaptures) the replacement heart valve and stent."

After a special master recommended that the District Court adopt Medtronic's construction of the term "pushing out the pusher member from the moveable sheath" to mean "pressing against the pusher member with a force that moves the pusher member out of the moveable sheath," the parties each moved for summary judgment.  Medtronic's motion was predicated on Colibri's cancellation of then-pending claim 39 during prosecution raising PHE to defeat Colibri's assertion of inducing infringement under the doctrine of equivalents:

A method of controlled release of a percutaneous replacement heart valve in a patient where a bio-prosthetic heart valve is indicated, comprising:
    providing a replacement heart valve device and a delivery and implantation system;
    the replacement heart valve device including:
        a stent member that is collapsible, expand-able and configured for percutaneous delivery; and
        a valve attached to the stent member, the valve including two to four individual leaflets;
    the delivery and implantation system including:
        a pusher member and a moveable sheath, wherein the pusher member includes a lumen for receiving a guide wire, wherein the moveable sheath includes a lumen configured for receiving the pusher member, and wherein the replacement heart valve device is collapsed onto the pusher member to reside in a collapsed configuration on the pusher member and is restrained in a collapsed configuration by the moveable sheath;
    after the providing step, advancing the delivery and implantation system over the guide wire within the patient to position the replacement heart valve device for deployment within the patient;
    after the advancing step, partially deploying the replacement heart valve device within the patient by retracting the moveable sheath to expose a portion of the replacement heart valve device; and
    
after the partially deploying step, recovering the portion of the replacement heart valve device within the moveable sheath that was exposed in or-der to address a problem with the position of the replacement heart valve device within the patient.

(emphasis on language at issue in the case).

Relying again on a special master's decision that claim 39 and asserted claim 1 were "separate and distinct," the District Court denied Medtronic's summary judgment motion and the case went to trial.  A jury held in favor of Colibri based on an application of the doctrine of equivalents and awarded $106 million in damages.  After Medtronic unsuccessfully filed motions for judgment as a matter of law (JMOL), this appeal followed.

The Federal Circuit reversed, in an opinion by Judge Taranto joined by Judges Hughes and Stoll.  The panel agreed with Medtronic that the jury's verdict was precluded by the doctrine of prosecution history estoppel due to Calibri cancelling the "retraction" method of correcting improper positioning of the valve.  The panel focused on Medtronic's appeal of the District Court's denial of JMOL for non-infringement based on PHE, which carried the burden of establishing that "the evidence, construed in the light most favorable to the nonmoving party, permits only one reasonable conclusion, and that conclusion is contrary to the jury's verdict,"  citing TVIIM, LLC v. McAfee, Inc., 851 F.3d 1356, 1362 (Fed. Cir. 2017) (quoting Harper v. City of Los Angeles, 533 F.3d 1010, 1021 (9th Cir. 2008)).  On the other hand, PHE is a question of law for which the Court made its determinations de novo (this difference in standard being relevant if not dispositive to the Court's decision).  The panel's decision was based entirely on the PHE question, wherein the Court found that "a combination of applying a pushing force to the pusher member while retracting the moveable sheath (what Medtronic's device does) is equivalent to, i.e., not substantially different from, 'pressing against the pusher member with a force that moves the pusher member outward from the moveable sheath'" (what claim 1 requires).

The District Court erred in two aspects of the PHE question, according to the opinion, the first regarding that the equivalent advanced by Colibri was "distinct and separate" from cancelled claim 39 and second, that canceling claim 39 was not a narrowing amendment.  Regarding the first error, the panel disputed the distinction relied upon by the District Court that "claim 39 did not require pushing the inner member—only retracting the moveable sheath—whereas Medtronic's . . . devices require both pushing and retracting."  The Court recognized that this contention was contrary to the "simple physics" asserted by Colibri regarding its theory of equivalence ("requiring that opposing forces (i.e., pushing and retracting) be applied to deploy the valve and stent from the moveable sheath") (also stated as "pushing necessarily accompanies retracting").  Colibri's DOE argument (related to "pure retraction") is inconsistent with this simple physics, because "pure retraction of the moveable sheath would result in retraction of the stent and valve as well—the only way to deploy (i.e., separate) the stent and valve from the moveable sheath is to simultaneously exert a pushing force on the inner member holding the stent and valve" which is recited in cancelled claim 39.

Regarding Medtronic's second argument, the Court held that cancelling claim 39 was a narrowing amendment that PHE barred from assertion under the DOE.  The scope of PHE's effect on assertion under the doctrine is such that "the required narrowing is not a purely formal matter of altering a single claim's terms; it can exist, and we conclude here does exist, as a substantive matter based on cancelling a closely related claim involving such intertwined terminology that cancelling one claim necessarily communicated that the scope of the other claim had narrowed."  The panel held that the District Court's error was to "rely on [the] formalities" regarding separate independent claims: granted claim 1 was not amended although claim 39 was cancelled.  The "close relationship" between the inventions so claimed would have been recognized by the skilled artisan to be "closely related as a substantive matter," thereby "giving up one communicates a narrowing message about the one retained," citing the principles of the relationship between the DOE and PHE set forth in Festo Corp. v. Shoketsu Kinzoku Kogyo Kabushiki Co., 535 U.S. 722, 733 (2002), rejection of a formalistic approach in Honeywell International Inc. v. Hamilton Sundstrand Corp., 370 F.3d 1131, 1141–44 (Fed. Cir. 2004) (en banc), and consistency to the Festo approach applied in subsequent cases, citing Glaxo Wellcome, Inc. v. Impax Laboratories, Inc., 356 F.3d 1348, 1356 (Fed. Cir. 2004).  Accordingly, the Court "reject[ed] Colibri's contention that claim 1 itself had to be amended for prosecution history estoppel to apply" due to "[t]he close substantive relationship between the cancelled and retained claims."

The doctrine of equivalents was reinvigorated by the Supreme Court in Warner-Jenkinson v. Hilton Davis Chemical after having been neglected by the Federal Circuit as being contrary to its mandate to harmonize U.S. patent law, due to the inherent uncertainties that can arise (or be perceived to arise) by its application.  After Festo there was another lull in Federal Circuit cases on the doctrine, although there has been a recent uptick (see Ajinomoto Co. v. International Trade Commission, Jennewein Biotechnologie GmbH v. International Trade Commission and Galderma Laboratories, L.P. v. Amneal Pharmaceuticals LLC)).  This case, while denying a finding of DOE infringement nevertheless illustrates the continued vitality of the "push me-pull you" nature of the relationship between DOE infringement and the counterweight provide by PHE.

Colibri Heart Valve LLC v. Medtronic Corevalve, LLC (Fed. Cir. 2025)
Panel: Circuit Judges Taranto, Hughes, and Stoll
Opinion by Circuit Judge Taranto

Posted in ,

One response to “Colibri Heart Valve LLC v. Medtronic Corevalve, LLC (Fed. Cir. 2025)”

  1. Richard A Hillstead, Ph.D., FAHA Avatar
    Richard A Hillstead, Ph.D., FAHA

    Excellent overview and analysis of what was a complex and difficult case to present to a jury of ordinary citizens. As the testifying technical expert witness for Medtronic, I was present for the entire trial and very much a part of this litigation. While being disappointed by the initial jury decision, we felt strongly that on appeal, the matters of law would be appreciated by those presiding and judgement would be rendered accordingly rather then emotionally by a jury ill equipped to see beyond the narrative presented by Colibri counsel.
    The appellate panel got it right, thus reversing a miscarriage of justice.

    Like

Leave a comment