By Kevin E. Noonan —
One of the assumptions, or promises, or hopes, attendant on the inauguration of post-grant review proceedings (particularly inter partes reviews) under the Leahy-Smith America Invents Act was that, as in European Opposition Proceedings, a Patent Owner would be able to propose amendments to overcome unpatentability arguments raised by Petitioners. This was not how these reviews were implemented, however, ostensibly due to the statutorily mandated timeframe (one year from institution of the proceedings) that a European-like proceeding would not accommodate. Accordingly, it has been rare for the Patent Trial and Appeal Board (PTAB) to grant a Patent Owner leave to file such amendments ("Over 450 such motions were decided between 2012 and 2023, and 83% of them were denied"). One of those rarae aves where the motion was granted is Edwards Lifesciences Corp. v. Cardiovalve Ltd., which in addition illustrates how such motions and the claims amendments submitted therewith can result in claims passing patentability muster.
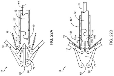
Petitioner Edwards Lifesciences challenged all claims of U.S. Patent No. 10,702,385 directed to methods for using a prosthetic heart valve support that provides "minimally invasive (e.g., transcatheter and/or transluminal) implantation of a prosthetic valve at a native valve of a subject." Edwards asserted six grounds of unpatentability relying on two patents to Goldfarb, U.S. Patent Nos. 7,563,267 and 7,635,329. As explained in the opinion, these patents disclosed a particular prosthetic heart valve support identified in the opinion as embodiment A:

Relevant elements disclosed in the Goldfarb patents include (as illustrated in the drawings) "a 'fixation device' (depicted in Fig. 22A–22B [above] as element 14) [that] has 'distal and proximal elements' (elements 18 and 16 respectively) on each side of the fixation device that can move towards each other to capture tissue flaps and 'lateral branches' (elements 19A, 19B) and/or the distal elements (element 18) that can move independently of each other." Coupling member 19 in the Figures "is bifurcated into two resilient and flexible branches 19A, 19B" that can move from the position shown in Fig. 22A to the one shown in Fig. 22B below:

The opinion explains that Goldfarb describes "fixation device 14 [being] coupled to the shaft 12 by a coupling mechanism," wherein "[o]ne embodiment of the coupling mechanism includes 'an upper shaft 20 and a detachable lower shaft 22 which are interlocked at a joining line or mating surface 24." Another feature of the Goldfarb device is a "sigmoid curve defining a male element and female element" on the upper shaft of coupling member 19 which 'interlock respectively with corresponding female and male elements' on the lower shaft."
The Board instituted the IPR and a little less than three months thereafter Patent Owner Cardiovalve file its Motion to Amend (and a little more than six months later a Revised Supplemental Motion to Amend), clarifying that its motion was not contingent and cancelling the ten challenged claims in lieu of substitute claims 11-20. Claim 11 set forth below is written here to identify with italics the change in original independent claim 1:
11. A method for use at a native valve of a heart of a subject, the valve including a first leaflet and a second leaflet, the method comprising:
transluminally advancing, to the heart, an implant coupled to a delivery apparatus,
the implant including a first clip, a second clip, and a support portion flexibly coupled to the first and second clips, the support portion having an opening that surrounds a central longitudinal axis of the implant, the first clip and the second clip fixedly coupled to each other, the first clip including a first-clip arm, and the second clip including a second-clip arm, the first-clip arm and the second-clip arm each having an end most displaceable from the central longitudinal axis of the implant, and
the delivery apparatus including a delivery tube and at least one clip controller disposed within the delivery tube,
the first-clip arm, the second-clip arm, and the support portion being disposed within the delivery tube during the transluminal advancing to the heart;
advancing the implant out of the delivery tube by advancing the end of the first-clip arm and the end of the second-clip arm out of the delivery tube before advancing the support portion out of the delivery tube;
forming the first leaflet and the second leaflet into a double-orifice arrangement by using the implant to couple a middle scallop of the first leaflet to a middle scallop of the second leaflet by, using the clip controller:
opening the first clip by deflecting the first-clip arm;
independently of opening the first clip, opening the second clip by deflecting the second-clip arm;
gripping the first leaflet with the first clip by closing the first clip by deflecting the first-clip arm; and
independently of gripping the first leaflet, gripping the second leaflet with the second clip by closing the second clip by deflecting the second-clip arm;
decoupling the clip controller from the implant; and
withdrawing the delivery apparatus from the subject.
The Board granted Cardiovalve's motion, which perforce occasioned judgment against Edwards, because the basis of the motion grant was that Edwards had not shown by a preponderance of the evidence that the substitute claims were unpatentable. This appeal followed.
The Federal Circuit affirmed, in an opinion by Judge Cunningham joined by Chief Judge Moore and Judge Hughes. The opinion informs that the error raised by Edwards in the appeal were related to these claim elements:
(1) "a support portion flexibly coupled to the first and second clips, the support portion having an opening that surrounds a central longitudinal axis of the implant" (the "support portion" limitation); and (2) "advancing the implant out of the delivery tube by advancing the end of the first-clip arm and the end of the second-clip arm out of the delivery tube before advancing the support portion out of the delivery tube" (the "advancing" limitation).
Specifically, Edwards raised five arguments that the Board erred:
(1) adopting an implicit construction of "support portion" that excluded the male element portion of the coupling member; (2) finding that Goldfarb's male element does not have an opening that "surrounds" the central longitudinal axis of the fixation device; (3) finding that Goldfarb does not disclose or render obvious the "advancing" limitation, i.e., that the ends of the clip arms are advanced out of the delivery tube before the support portion; (4) finding that Goldfarb's collar does not satisfy the "support portion" limitation; and (5) misconstruing "advancing" and "having an end most displaceable."
The opinion states that Edwards asserted only the first, fourth, and fifth arguments at oral argument.
Regarding Edwards' argument that the "implicit construction" of the term "support portion" excluded the "male element" of the coupling member, the panel agreed with Cardiovalve's characterization of the Board's decision as being a factual finding and not part of claim construction. These factual findings included that "the male element of the coupling member alone does not constitute a support portion" but that the coupling member was "plainly a single, unitary structure." According to the opinion, all the illustrated elements performing the ascribed function were not separate as argued by Edwards but "together form a solid, single component" (emphasis in opinion). The opinion relies on Trading Techs. Int'l, Inc. v. Open E Cry, LLC, 728 F.3d 1309, 1319 (Fed. Cir. 2013), for the distinction that the Board was not "directed towards 'discern[ing] the meaning of a particular term'" and accordingly had engaged in factfinding (reviewed for substantial evidence) rather than claim construction (reviewed de novo). Under the proper standard, the Federal Circuit found the Board's decision was supported by substantial evidence and accordingly affirmed.
For the Edwards' second argument, that the Board erred regarding the collar element 131 illustrated above not being a support portion, the panel held that according to the plain language of substitute claim 11 the support portion is required to be coupled to the first and second clips when the implant is advanced and that substantial evidence supported the Board's finding that Goldfarb's collar does not constitute the claimed support portion. The Board's interpretation was supported in the panel's opinion by the Goldfarb disclosure that "the collar and coupling member can freely move with respect to each other," and thus "Goldfarb's collar 'cannot provide the support functions' required of a support portion." The Board also rejected Edwards' argument that "the collar may eventually be permanently coupled to the clips" in use because at the time the implant was delivered the collar is not so coupled (and once again the plain language of substitute Claim 11 requires it to be so). The Federal Circuit held that, using the plain language of substitute claim 11, the Board's decision that the cited art did not render these claims unpatentable was supported by substantial evidence.
The panel considered Edwards's final argument as having two aspects: first, that the Board erred in construing the "advancing" limitation; and second, that under the proper construction the Board's determination that the Goldfarb reference did not disclose (and thus render obvious) claims reciting the "advancing" limitation was error. On the first aspect of this argument, Edwards argued that under the Board's erroneous construction what construed "advancing" encompassed the end of the clips to "precede any part of the support portion, not the entire support portion, when advanced'" (emphasis in opinion). In Edwards' view, the proper construction required the entire support portion to be delivered from the delivery tube element. Cardiovalve agreed with the Board, that whatever was advanced it just need to "begin[ ] to emerge from the delivery tube." Again relying on the plain and ordinary meaning standard for construing claim terms, the panel held that such language indicated that "the support portion must only be partially advanced out of the delivery tube." The opinion set forth an illustration from the '385 patent specification in support of this interpretation:

wherein "the clip arms emerge in their entirety, while the prosthetic valve support 22, which includes the support portion 60, is only partially out of the delivery tube."
With regard to the second aspect of Edwards' argument, the panel agreed with Cardiovalve's argument that as a consequence of the Board's construction of the "advancing" term the collar and coupling member recited in substitute claim 11 could not meet that limitation. Specifically, "flexible arms 19A and 19B (which are part of coupling member 19) are attached to the bases of both proximal and distal elements 16 and 18 and must therefore be advanced from the delivery tube as the clips begin to emerge." The Federal Circuit held that Edwards' arguments were "largely speculative" and based on how Edwards interpreted the Figures set forth in the Goldfarb reference and that these Board findings were supported by substantial evidence. On that basis the Court affirmed the Board.
A lesson to be learned from this decision is that while it may be an unlikely eventuality for the Board to grant a motion to amend claims involved in an IPR all that effort will be for naught unless the amended claims overcome the patentability challenge raised by Petitioner. And any such amendments must be supported by the specification of the challenged patent(s). While achieving these goals may resemble an extensive juggling act concerning understanding of the prior art, anticipating how that prior art may be asserted in a patentability dispute, and claiming accordingly is just another complication in competent patent prosecution; in other words, as Branch Rickey said in another context, "Luck is the residue of design."
Edwards Lifesciences Corp. v. Cardiovalve Ltd. (Fed. Cir. 2025)
Nonprecedential disposition
Panel: Chief Judge Moore and Circuit Judges Hughes and Cunningham
Opinion by Circuit Judge Cunningham

Leave a comment