By Donald Zuhn —
In April, the Federal Circuit affirmed a decision by the U.S. District Court for the Eastern District of Texas granting summary judgment in favor of Repro-Med Systems, Inc., finding that Repro-Med did not infringe U.S. Patent No. 8,961,476. EMED Technologies Corp., which owns the '476 patent, had filed suit against Repro-Med, asserting that Repro-Med's safety needle devices infringed the '476 patent.
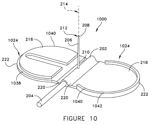
The '476 patent is directed to medical needle devices with built-in safety structures to protect users from the sharp tip of the medical needle, with the specification describing various embodiments, and the relevant embodiment being depicted in Figure 10:
As shown in Figure 10, the safety device includes a needle 208 between a pair of opposing "wings" 216 and 218, which when rotated into a closed position, house the needle into a "groove" (which is not labeled in Figure 10, but which is shown in the figure as a narrow recess in wing 216).
In response to EMED's complaint, Repro-Med petitioned for inter partes review of claims 1-10 of the '476 patent. The Board instituted the IPR and found claims 1-8 and 10 to be unpatentable. In an earlier decision, the Federal Circuit affirmed the Board's determination, leaving claim 9 as the only claim at issue before the District Court. Claim 9 depends from claim 8, which depends from claim 1. Claims 1, 8, and 9 recite (with emphasis in claims 8 and 9 from the panel opinion):
1. A device for protecting a user from a sharp tip of a medical needle, the device comprising:
a central body portion;
the medical needle having a first end in fluid connection with a delivery tube, and a second end distal from the central body portion including the sharp tip;
a pair of wings, each wing of the pair of wings having an inner region and an outer region, the inner region of each wing in attachment to the central body portion, the outer region of each wing extending away from the central body portion, the pair of wings disposed in opposition to one another with the medical needle positioned therebetween, and the pair of wings being selectively positionable from an open position to a closed position, where the wings in the open position are spaced apart from each other to expose the medical needle to al-low placement of the medical needle into a treatment site and delivery of a medicinal fluid, and wherein the wings in the closed position cover the medical needle to protect against accidental needle stick injury from the medical needle;
a mechanical fastener disposed on at least one wing of the pair of wings, the mechanical fastener con-figured to selectively attach the pair of wings together with the medical needle positioned therebetween so as to protect against accidental needle stick injury from the sharp tip of the medical needle;
the mechanical fastener including a lip extending along at least a portion of a perimeter of at least one wing of the pair of wings, and a mating portion along a perimeter of at least one other wing of the pair of wings, and wherein the mating portion and the lip are configured to align the at least one wing relative to the at least one other wing in the closed position.
8. The device in accordance with claim 1, wherein at least one of the pair of wings is formed with a groove having a size configured for housing at least a portion of the medical needle when the pair of wings are in the closed position.
9. The device in accordance with claim 8, wherein the groove is formed in a single one of the pair of wings.
In response to EMED's assertion of infringement, Repro-Med argued that its safety needle devices differ with respect to the exposed length of the needle as measured from the housing to the sharp tip. Repro-Med provided the annotated figures and description of those figures set forth below:
[E]ach wing (E) has a needle facing surface that in-cludes a smooth rectangular section (A) interposed between two thinned areas (B and C). A first thinned area (B) is provided between the housing (D) and the wing (E), thereby allowing each wing (E) to move between open and closed positions. A second thinned area (C) is provided between the rectangular section (A) and the outer section (F) of the wing (E) bearing the plug (G) and the wing (E) bearing the socket (H). This second thinned area (C) allows the outer section (F) of each wing (E) to bend relative to its adjacent smooth rectangular section (A), allowing the plug (G) and the socket (H) to engage and thereby lock the wings together in the closed position about the medical needle. Each of the rectangular surface sections (A) have a ridge (I) adjacent the second thinned area (C), the ridge (I) extending perpendicular to the length (J) of the medical needle extending from the housing.
At trial, the District Court construed several terms relating to the "groove" of claim 9, determining that the term "groove" means "a long narrow cut or depression," and adopting the parties' agreed-upon constructions of the claimed groove "having a size configured for housing at least a portion of the medical needle" to mean "having a size designed for housing at least a portion of the medical needle that includes the sharp tip," and the phrase "wherein the groove is formed in a single one of the pair of wings" to mean "wherein the groove is formed in only one of the pair of wings." Repro-Med moved for summary judgment of noninfringement, and a magistrate judge recommended that summary judgement be granted in favor of Repro-Med. Because there is no space to house the needle in Repro-Med's safety needle devices, the magistrate recommended a finding of no literal infringement. The magistrate also recommended a finding of no infringement under the doctrine of equivalents because treating portions of Repro-Med's safety needle devices as the claimed "groove" would vitiate the claim limitations of "a groove having a size configured for housing at least a portion of the medical needle when the pair of wings are in the closed position" and "wherein the groove is formed in a single one of the pair of wings." The District Court adopted the magistrate's recommendation and granted summary judgment of noninfringement in favor of Repro-Med.
The Federal Circuit begins by explaining that under the District Court's constructions, which neither party disputed, the claimed groove is a "a long narrow cut or depression" formed in "only one of the pair of wings," "ha[s] a size designed for housing at least a portion of the medical needle that includes the sharp tip," and must perform the specific function of housing the needle "when the pair of wings are in the closed position." The opinion notes, however, that Repro-Med's safety needle devices lack a "groove" as claimed and protect the user from the needle in a different way:

Although EMED argued that the "groove" is self-evident in the images above, the Federal Circuit disagreed, explaining that "EMED's theory fails to account for the requirement that the groove 'house[s]' the needle 'when the pair of wings are in the closed position.'" The Federal Circuit therefore agreed with the District Court that there was no genuine dispute that Repro-Med's safety needle devices do not contain the claimed groove, and therefore do not literally infringe claim 9 of the '476 patent.
With respect to infringement under the doctrine of equivalents, the Federal Circuit noted that the claims explicitly require that the "groove" must house the needle when the wings are in the closed position, and explained that "[t]o extend the claimed 'groove' to encompass structures that do not house the needle would vitiate that claim limitation." The Federal Circuit, therefore, affirmed the District Court's grant of summary judgment of noninfringement.
EMED Technologies Corp. v. Repro-Med Systems, Inc. (Fed. Cir. 2020)
Nonprecedential disposition
Panel: Circuit Judges Chen, Schall, and Hughes
Opinion by Circuit Judge Chen



Leave a comment