Method of Pulling Pipe Beneath Obstacle Not Directed to Patent Ineligible Abstract Idea
By Donald Zuhn —
Last month, in Borehead, LLC v. Ellingson Drainage, Inc., District Judge Patrick J. Schiltz of the U.S. District Court for the District of Minnesota denied a motion to dismiss filed by Defendants Ellingson Drainage, Inc. and QuickConnect LLC ("Ellingson"), which sought to dismiss a patent infringement action brought by Borehead, LLC. Borehead had filed suit against Ellingson for infringement of U.S. Patent No. 9,719,611.
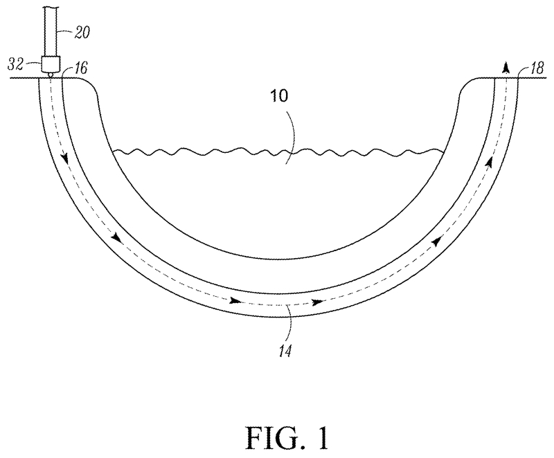
The '611 patent, entitled "Underground Pipe Pulling Process and Pipe Pull Head," is directed to a method for pulling a pipe underground beneath an obstacle (such as a river or a road). Figure 1 of the '611 patent illustrates an exemplary application of the described pipe pulling technique.

Claim 1 of the '611 patent recites:
1. A method of pulling a pipe underground beneath an obstacle from a first side to a second side of the obstacle, comprising:
at the first side, attaching an adaptor to an end of the pipe, the adaptor being configured to connect to a pipeline component at the second side;
at the first side, attaching a pull head to the adaptor;
pulling the pipe underground from the first side to the second side by applying a pulling force to the pull head from the second side;
at the second side, removing the pull head;
at the second side, connecting the pipeline component to the adaptor; and
wherein the adaptor is a pipe adaptor and the pipeline component is a second pipe.
The '611 patent indicates that:
In the conventional process, a pull head is attached to the pipe at the first side. The pipe is then pulled underground through the borehole from the first side to the second side. At the second side, the pull head is removed from the pipe, a section of pipe is then cut from the pipe end, and a pipe adaptor is then fused to the end of the pipe. The end of a new section of pipe is then joined to the pipe adaptor to continue the pipeline.
'611 patent, col. 1, ll. 17-24.
However, in the claimed method of the '611 patent, the adaptor is attached to the end of the pipe before the pipe is placed underground. The '611 patent notes that "attaching the adaptor to the pipe end at the first side while the pipe end is above ground, and prior to pulling the pipe underground, is faster and reduces danger to workers compared to the conventional process of attaching the adaptor at the second side within a trench" (id. at col. 1, ll. 48-52).
Ellingson moved to dismiss Borehead's complaint, arguing that claim 1 is drawn to an abstract idea that is not patent eligible under 35 U.S.C. § 101. To determine whether claim 1 is directed to a patent ineligible abstract idea, the District Court applied the two-part inquiry set forth by the Supreme Court in Alice Corp. Pty. Ltd. v. CLS Bank Int'l. The inquiry requires that a court first determine whether the claim is directed to an abstract concept, and if so, determine whether additional elements transform the nature of the claim into a patent‐eligible application, which the Supreme Court described as "a search for an 'inventive concept.'"
After applying the two-part inquiry of Alice, the District Court noted that "neither of these inquiries indicate that Claim 1 of the '611 patent is drawn to an unpatentable abstract concept." In particular, the Court explained that:
[T]he ['611] patent is not drawn to an abstraction, but to a concrete task—specifically, the task of pulling a pipe underground beneath an obstacle. The claim requires specific physical tasks to be performed using specific tangible items in a specific order. This is nothing like the claims in Alice, which were directed at the abstract idea of using a third party intermediary to mitigate settlement risk. . . . Not surprisingly, Ellingson had difficulty articulating the abstract concept to which Claim 1 is supposedly drawn.
In addition, the Court noted that "[e]ven if Claim 1 could be considered to be directed at an abstract concept, it nevertheless incorporates the inventive idea of rearranging the conventional steps of moving pipe underground beneath an obstacle in a non‐conventional way in order to make the process easier and safer." The District Court therefore denied Ellingson's motion to dismiss Borehead's complaint.
Borehead, LLC v. Ellingson Drainage, Inc. (D. Minn. 2018)
Order by District Judge Schiltz

Leave a comment