By Kevin E. Noonan —
Early last month, the Federal Circuit addressed an important question regarding the interplay between a decision to institute inter partes review before the Patent Trial and Appeal Board and the ultimate determination by the Board regarding whether claims are invalid for the reasons contained in the petition, in TriVascular v. Samuels.
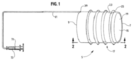
The IPR involved U.S. Patent No. 6,007,575, which claimed intraluminal stents, particularly vascular stents, and specifically such stents that can be "affixed" to vascular walls using an inflatable cuff (designated 17 in this drawing):
wherein the cuff can inflate and deflate by introducing or withdrawing fluid into circumferential ridges 25.
Claim 1 is representative:
1. An inflatable intraluminal stent adapted to be secured to the interior of a tubular structure within the human body comprising:
a) an inflatable and deflatable cuff of generally hollow cylindrical continuation having a collapsible lumen, an inner surface, an inlet, an outlet and a friction enhancing outer surface, said friction-enhancing outer surface featuring inflatable protrusion(s) including at least one circumferential ridge disposed about the inflatable cuff, said friction-enhancing outer surface engaging the interior of the tubular structure without penetration to prevent the cuff from moving in a longitudinal direction with respect to the tubular structure when said cuff is in a fully inflated condition;
b) means for injecting an inflation material into said cuff to inflate it; and
c) a valve integral with the inflatable cuff for permitting entry of the inflation material from the means for injecting and thereafter sealing said cuff to prevent deflation.
TriVascular filed its IPR petition in response to an infringement action by Samuels, with the Board instituting the IPR on obviousness grounds over the combination of an earlier Samuels patent (U.S. Patent No. 5,423,851) in view of a patent to Todd (U.S. Patent No. 5,423,745) and separately over the combination of a patent to Lazarus (U.S. Patent No. 5,693,088) and the Todd patent.
At the initiation stage, the PTAB construed the term "circumferential ridge" to mean "raised strip disposed circumferentially about the outer surface of the inflatable cuff." Under that construction, the Board held that the Samuel's '851 patent did not teach away from the circumferential ridges taught in the '575 patent by teaching "penetrating anchoring barbs" and also that removing the barbs (by substituting the circumferential ridges) would not "destroy the objective" of the '851 patent.
Nevertheless, the Board held that TriVascular had not carried its burden of showing the claims to be obvious by a preponderance of the evidence. Specifically, the Board further construed the term "inflatable protrusions" to mean "protrusions that are themselves inflatable, i.e., expandable by being filled with fluid" and that these were not disclosed in the prior art (nor would there be a motivation to combine the art to achieve the invention claimed in the '575 patent). The Board also found that, under its construction the circumferential ridges were continuous and cannot be discontinuous inflatable protrusions as disclosed in the cited art. Under its claim construction and in view of expert evidence adduced during trial, the Board held that TriVascular had not carried its burden that the claims were obvious by a preponderance of the evidence.
The Federal Circuit affirmed, in a decision by Judge O'Malley, joined by Judges Moore and Wallach. The Court applied de novo review to the ultimate question of obviousness but deferred to the Board on it factual determinations. With regard to the Board's claim construction, the Court noted that the Board had used the broadest reasonable interpretation standard in assessing whether the ridges should be construed to include discontinuous embodiments. Specifically, the opinion noted that it is not reasonable to construe individual words in a claim out of context (i.e., as would be understood to be the ordinary and customary meaning of the term to one of ordinary skill in the art). In reaching its factual determinations, the Board relied upon the specification and dictionary definitions, from which it held that TriVascular's reading that the claims encompasses "discontinuous" circumferential ridges was inconsistent with the customary and ordinary meaning of the term. (In an amusing sidenote, the opinion recited that TriVascular alluded to the Blue Ridge Mountains to illustrate that a "ridge" can be discontinuous; the panel first gently castigated the petitioner for not providing any basis for imputing a "topological or cartographical" definition of the word, and in a footnote finding that the meaning of Blue Ridge Mountain did not use the word "ridge" to modify the word "mountain.") The panel also noted in a footnote that it was issuing its decision rather than await the Supreme Court's decision in In re Cuozzo Speed Tech. LLC v. Lee, because TriVascular was arguing for a broader rather than narrower construction.
TriVascular also argued the existence of prosecution history disclaimer, on the ground that during prosecution Samuels distinguished its '851 prior art patent based on continuous inflatable ridges but that the word "continuous" was not in the claims as granted. The Board found that the claims were deemed allowable after further amendment and prosecution ignored by TriVascular and that omitting the word "continuously" in favor of the phrase "at least one circumferential ridge disposed about the inflatable cuff" was not "clear and unmistakable" disclaimer. As reviewed by the Court, TriVascular bore the burden of showing "clear and unmistakable" disclaimer in order to prevail, citing Elbex Video, Ltd. v. Sensormatic Elecs. Corp., 508 F.3d 1366, 1371 (Fed. Cir. 2007).
The Court agreed with the Board that TriVascular had not met this burden, saying that the "continuous" limitation was one of several Samuels offered to distinguish over the prior art and that the Examiner never adopted this amendment as the basis for allowing the claims (indeed, the panel understood that the Examiner allowed the claims in view of amendments other than the "continuous" amendment). The panel also rejected TriVascular's argument that, to overcome prosecution history disclaimer "there must be 'written evidence' to contradict an applicant's concessions made in an amendment, and that '[w]here the record is devoid of any written documentation, no inferences can be made as to what the examiner relied upon or understood,'" purportedly relying on Litton Systems, Inc. v. Whirlpool Corp., 728 F.2d 1423 (Fed. Cir. 1984); Genzyme Corp. v. Transkaryotic Therapies, Inc., 346 F.3d 1094 (Fed. Cir. 2003); and Rohm & Haas Co. v. Crystal Chemical Co., 722 F.2d 1556 (Fed. Cir. 1983), calling that reliance "misplaced." The opinion states in this regard that this case did not involve nondisclosure of the contents of an examiner interview (Litton), nor introduction of a last-minute amendment that omitted a limitation that had been relied upon throughout prosecution (Genzyme), nor a charge of inequitable conduct based on intentional misrepresentations (Rohm), and thus none of this precedent supported TriVascular's argument.
Turning (at last) to the obviousness issue, the panel found no error in the Board's distinguishing the claimed invention from the prior art. The Samuels '851 patent disclosed stents comprising inflatable protrusions containing penetrating spikes illustrated in Fig.3 (inflated) and Fig.4 (deflated) of the patent:

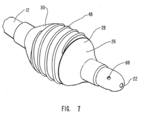
while the Todd patent showed "non-penetrating 'gripping protuberances' on the outer surface of the stent," illustrated in Fig.7 (wherein the panel noted these protuberances were solid instead of inflatable:
For the panel, "a key point of distinction between the '575 patent and the prior art is that the '575 patent teaches the use of inflatable, circumferential ridges that do not penetrate the vessel wall" (emphasis in opinion). The Court agreed with the Board's decision that TriVascular had not carried its burden of showing obviousness based, inter alia, on its understanding that substituting the barbs in the Samuels '851 patent with the ridges from the Todd patent "would destroy the basic objective of the barbs, which is to penetrate the surrounding tissue" (emphasis in opinion). This in view of other distinctions (such as that the Todd patent's ridges are not inflatable) convinced the Court that there was substantial evidence supporting the Board's decision that TriVascular had not established obviousness for the claims at issue.
The most significant portion of the opinion involves the panel's rejection of TriVascular's argument that, having decided to implement the IPR, the Board was under an obligation to explain its "inconsistent" decision that the claims were not obvious:
Contrary to TriVascular's assertions, the Board is not bound by any findings made in its Institution Decision. At that point, the Board is considering the matter preliminarily without the benefit of a full record. The Board is free to change its view of the merits after further development of the record, and should do so if convinced its initial inclinations were wrong. To conclude otherwise would collapse these two very different analyses into one, which we decline to do. If those determinations were somehow binding with respect to the Board's final decision, as TriVascular urges, the patentee's appeal rights as to that second determination would be close to illusory. TriVascular's argument also fails to appreciate that there is a significant difference between a petitioner's burden to establish a "reasonable likelihood of success" at institution, and actually proving invalidity by a preponderance of the evidence at trial. Compare 35 U.S.C. § 314(a) (standard for institution of inter partes review), with 35 U.S.C. § 316(e) (burden of proving invalidity during inter partes review). The Board's findings in its Final Written Decision were thus not inconsistent with those in its Institution Decision; they were made under a qualitatively different standard (emphasis in opinion).
These differences in the record supporting the Board's nonobviousness determination included expert testimony and an appreciation that the art provided no basis for substituting just the barbs in the Samuels '851 patent with the protuberances of Todd, particularly because even if substituted the Todd protuberances would not satisfy the limitation that the circumferential ridges be inflatable.
TriVascular, Inc. v. Samuels (Fed. Cir. 2016)
Panel: Circuit Judges Moore, O'Malley, and Wallach
Opinion by Circuit Judge O'Malley

Leave a comment