By Mark Chael —
Recently, Cytori Therapeutics, Inc. announced that the U.S. Patent and Trademark Office had issued a Notice of Allowance for claims directed to prosthetic devices seeded with adipose-derived stem cells. According to the press release, these claims are related to the use of Cytori's Celution® System for the treatment of bone diseases.
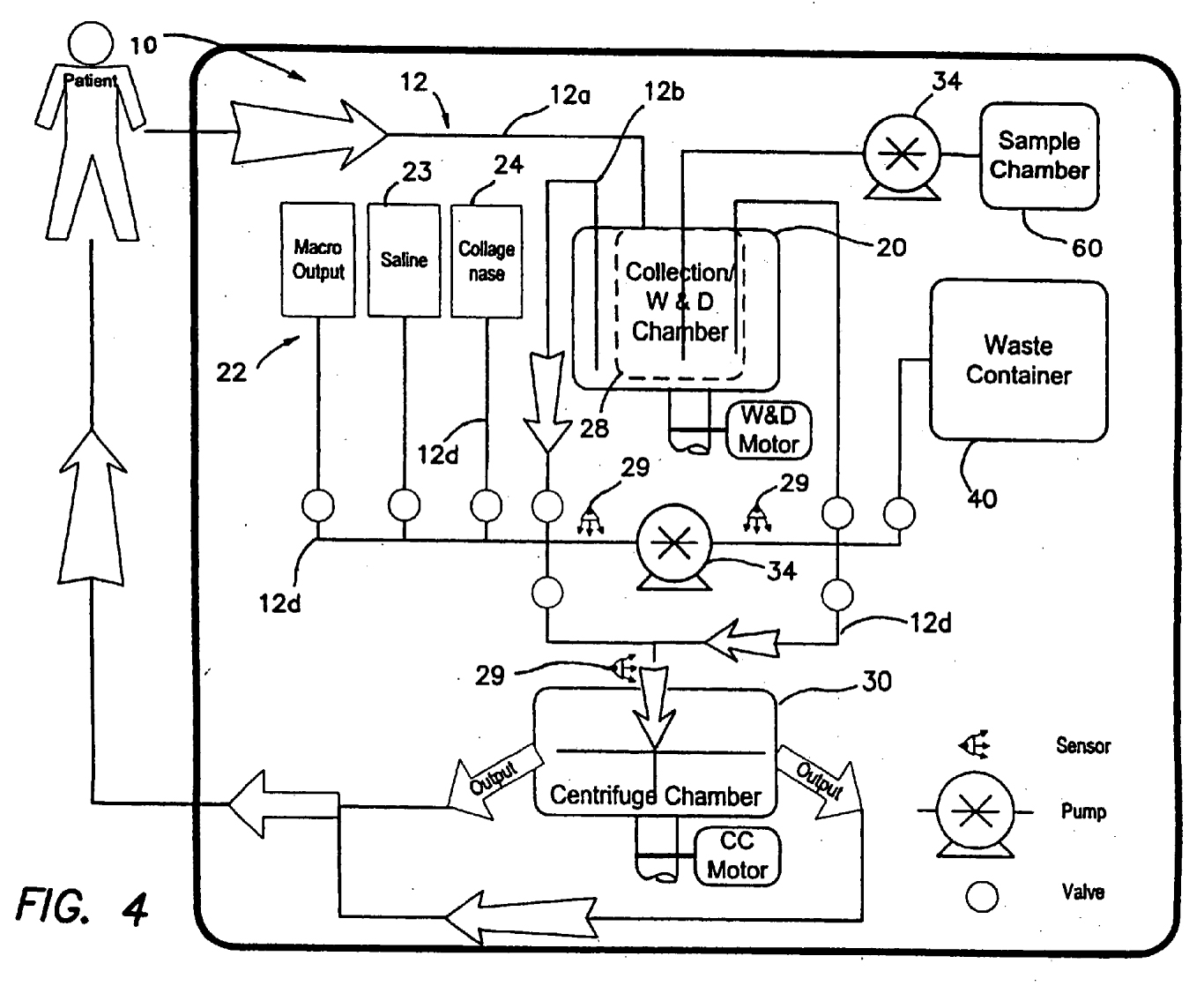
Although not specified in Cytori's recent press release, a quick review of the online databases at the USPTO indicates that on June 23, 2009, a Notice of Allowance was issued in U.S. Patent App. No. 10/885,293 (U.S. Patent App. Pub. No. 2005/0058632) in response to the applicants' filing of amended claims, which included the following:
1. A method of processing adipose tissue that comprises a population of cells comprising adipose-derived stem cells for reintroduction into a patient, comprising:
removing unprocessed adipose tissue that comprises a cell population comprising adipose-derived stem cells from said patient;
introducing the removed adipose tissue into a self-contained adipose-derived stem cell processing unit configured to maintain a closed system where said self contained adipose-derived stem cells processing unit comprises
a first filter that is disposed within said tissue collection chamber, wherein said first filter is configured to retain a first component of said unprocessed adipose tissue and pass a second component of said unprocessed adipose tissue, such that said first filter separates said first component from said second component, and wherein said first component comprises a cell population comprising adipose-derived stem cells and said second component comprises lipid, mature adipocytes, and saline;
a processing chamber, which is configured to receive said first component comprising said population of cells comprising adipose-derived stem cells from said tissue collection chamber, wherein said processing chamber is within said closed system;
a conduit configured to allow passage of said first component comprising said cell population comprising adipose-derived stem cells from said tissue collection chamber to said processing chamber while maintaining a closed system;
a cell concentrator disposed with said processing chamber, which is configured to facilitate the concentration of said first component comprising said cell population comprising adipose-derived stem cell so as to obtain a concentrated population of cells comprising adipose-derived stem cells, wherein said cell concentrator comprises a centrifuge or a filter; and
an outlet configured to allow the aseptic removal of said concentrated population of cells comprising adipose-derived stem cells;
introducing said concentrated population of cells that comprises adipose-derived stem cells into a prosthetic device, wherein said prosthetic device comprises a cell carrier portion and a cell carrier containment portion, and wherein said concentrated population of cells comprising adipose-derived stem cells is introduced into said cell carrier portion of said prosthetic device.
3. The method of claim 1, wherein said patient has a bone related disorder.
Cytori and its proprietary system were profiled in 2006 by the San Diego Union Tribune. Also, as Patent Docs reported previously, Cytori is assembling a significant portfolio of patents and patent applications covering various uses of adipose-derived stem cells and methods for their isolation.
According to information available from Cytori's website, the Celution® System consists of a cell processing device, single use consumables and related instrumentation and reagents. The cell processing device "rapidly and reliably delivers a clinical grade, mixed population of non-cultured adipose derived stem and regenerative cells at the patient's beside." Cytori does not sell these cells as a pharmaceutical product, unlike other stem cell commercialization enterprises, but rather commercializes the cell processing device, related instruments, consumables, and other reagents.


Leave a comment